Snap Toggle Anchor
Snap Toggle Anchor
| Size | M5, M6, M8, M10, M12 |
| Grip Range | 10mm-240mm |
| Material | Carbon steel & Stainless steel |
| Finished | Zinc plated, plain |
Advantage
- Corrosion resistant
- Pre-install without the bolt to make handing easier
- Resuable in the same hole-remove the bolt without losing the anchor
Installation
- Cinder block
- Concrete block
- Gypsum board
- Drywall
- Tile over drywall
- Plasterboard
- Composite panels
- Cement board
- Greenboard
- Plaster
- Stucco
- Fiberglass
- Plywood
- Steel plate
- Plastic
- Wood studs/beams
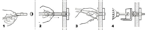
Installation

- Drill appropriate size hole. Hold metal channel flat alongside plastic straps & slide channel through the hole.
- Hold ends of straps together between thumb & forefinger and pull toward you until channel rests behnd wall. Ratchet cap along straps with other hand until flange of cap is flush with wall.
- Place thumb between straps at wall. Push thumb side to side, snapping off straps level with flange of cap.
- Place item over flange. Insert bolt and tighten until snug against item, then stop. Use machine screw or bolt to match thread in metal channel.
